| 发布时间:2023-11-02 | 文章来源:法美科技服务中心 |
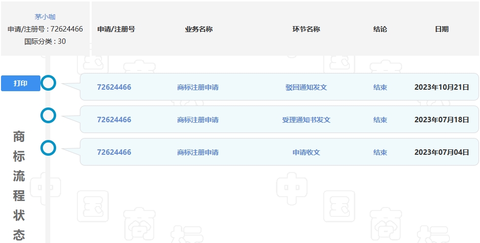
近日,中国贵州茅台酒厂(集团)有限责任公司申请的第30类“茅小咖”商标,商标流程状态变更为驳回通知发文。该商标申请于今年7月,国际分类为方便食品。
苏州商标注册|苏州商标申请|苏州商标注册办理|苏州商标注册中心|苏州商标注册网|苏州商标申请受理窗口|苏州商标注册窗口|苏州商标申请窗口|苏州商标服务中心|苏州商标申请代理|苏州商标注册费用|苏州商标注册申请办理|苏州市商标注册|苏州市商标申请|苏州市商标事务所|苏州商标代理公司|苏州商标注册服务|苏州商标注册申请|苏州商标注册代理|江苏商标注册|江苏苏州商标注册|苏州注册商标|苏州商标转让|苏州法美商标事务所|法美知识产权|法美科技服务|苏州涉外商标注册|苏州双软认证|苏州双软认定申报|苏州双软评估|苏州软件产品评估|苏州软件著作权登记|苏州作品版权登记|苏州版权登记|苏州马德里商标国际注册|苏州欧盟商标注册|苏州涉外商标申请|江苏涉外商标代理|苏州涉外商标代理公司|吴江商标注册|太仓商标注册|常熟商标注册|太仓商标注册|张家港商标注册|昆山商标注册|吴中区商标注册|姑苏区商标注册|苏州工业园区商标注册|高新区商标注册|苏州软件产品检测|苏州软件产品测试|苏州专利申请|苏州专利代理|苏州专利代理公司|苏州专利事务所|苏州软件企业申报|苏州商品条形码申请|苏州条形码申请|苏州条形码注册|苏州软件产品登记|苏州注册商标申请|江苏省商品条形码申请|苏州商品条码注册|苏州专利注册|苏州商标续展|常熟商标转让|苏州商标驳回复审|苏州商标变更|苏州高新技术产品认定|苏州高新技术企业认定|苏州科技查新报告|苏州科技项目申报|苏州商标申请注册|苏州公司商标申请|苏州商标申请窗口|苏州商标申请服务|苏州商标代理事务所|苏州商标注册申请|苏州品牌注册|苏州商标注册转让|苏州商标授权|苏州商标注册网|苏州商标注册材料|苏州如何商标注册申请|苏州到哪里注册商标|苏州商标注册流程及费用|苏州商标查询注册|苏州注册中国商标|苏州注册中国商标|中国商标查询网|苏州个人商标注册|苏州涉外商标注册|苏州商标注册中心官网|苏州商标转让网|苏州商标网|苏州申请商标注册|苏州商标申请查询|苏州申请商标要多少钱|苏州商标事务所|苏州商标注册查询|吴江商标注册申请|苏州法美专利事务所|苏州知识产权公司|苏州注册查询商标|苏州商标代注册|苏州商标申请查询|苏州注册商标查询|苏州商标查询官网|江苏省作品版权登记|苏州版权登记|苏州版权登记代理|江苏省软件著作权登记|苏州商标注册网查询|苏州商标注册多少钱|中国商标注册查询系统|苏州美国商标注册|苏州申请注册商标流程|苏州商标免费查询|苏州公司注册商标申请|苏州商标分类查询|吴江商标申请注册|苏州商标注册流程|苏州双软评估|苏州国外商标注册|苏州国际商标注册|苏州涉外商标注册|苏州专利申请代理|苏州软件企业评估|苏州商品条形码办理|江苏涉外商标注册|江苏涉外商标申请|江苏省涉外商标代理|江苏商品条形码申请|苏州商标买卖|苏州双软认证|苏州服装版权登记|江苏省版权登记|江苏软件著作权登记|江苏商品条码注册|江苏省条形码申请|江苏商品条形码注册|苏州商品条形码注册|苏州商标续展|苏州商标代理注册|苏州高新技术产品认宝|苏州高新技术企业认定|江苏省苏州商标注册|苏州市商标注册|吴江商标注册|江苏吴江商标注册|江苏商标注册代理|江苏商标注册申请|相城商标注册|虎丘商标注册|吴江商标代理公司|吴江商标注册代理|吴江商标注册|太仓商标注册|苏州商标注册|苏州相城商标注册|苏州申请商标|吴江商标注册|高新区商标注册|相城商标申请|吴中商标申请|虎丘商标申请|常熟商标申请|苏州工业园区商标申请|张家港商标申请|昆山商标申请|吴江商标申请|太仓商标申请|新区商标申请|相城专利申请|吴中专利申请|虎丘专利申请|常熟专利申请|苏州工业园区专利申请|张家港专利申请|昆山专利申请|吴江专利申请|江苏省商标事务所|江苏省专利事务所|太仓专利申请|新区专利申请|昆山专利事务所|相城条形码申请|吴中条形码申请|虎丘条形码申请|常熟条形码申请|苏州园区条形码申请|张家港条形码申请|昆山条形码申请|吴江条形码申请|太仓条形码申请|高新区条形码申请|苏州条形码办理|苏州条码注册|吴江条形码注册|江苏条形码申请|江苏条形码注册|江苏条码注册|吴江商品条码注册|常熟商品条形码申请|张家港商品条形码申请|昆山商品条形码申请|吴江商品条形码申请|太仓商品条形码申请|苏州商品条码申请







